Telset.id, Jakarta – Project Ara milik Google tak lagi terdengar gaungnya, setelah dihentikan pengembangannya oleh Google karena terkendala proses produksinya. Meski dianggap gagal, tapi ternyata Facebook justru dikabarkan tertarik untuk membuat ponsel modular, mirip seperti Project Ara.
Sempat digadang-gadang akan menuai sukses, Project Ara yang dikembangkan Google justru layu sebelum berkembang. Raksasa mesin pencarian itu telah patang arang untuk melanjutkan proyeknya itum dan memutuskan untuk menghentikan pengembangannya.
Salah satu alasan utama tidak dilanjutkannya Project Ara adalah karena sulitnya Google jika harus memproduksi berbagai perangkat keras terpisah untuk smartphone modular mereka itu.
Nah, setelah Project Ara dipensiunkan Google, kini Facebook justru dikabarkan ingin mengembangkan ponsel modular versi mereka sendiri. Kabar ini cukup mengejutkan, dan memang belum ada konfirmasi dari Facebook tentang rencana melanjutkan tonggak ambisi Google yang gagal itu.
[Baca juga: Diam-diam, Steve Wozniak Pengagum Ponsel China]
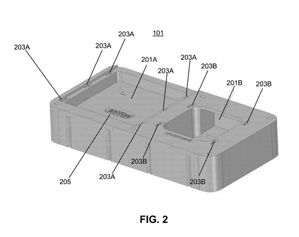
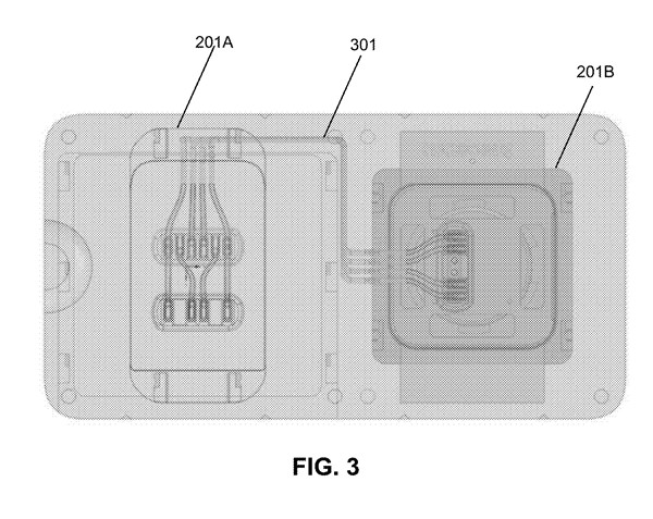
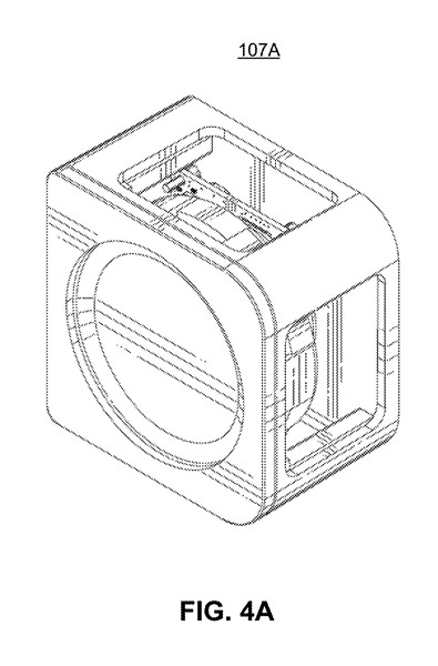
Seperti dilansir dari Business Insider, spekulasi ini mencuat setelah munculnya gambar paten terbaru Facebook yang menampilkan sebuah perangkat elektromekanik modular yang memiliki speaker, mikrofon, layar sentuh, GPS dan bahkan bisa berfungsi sebagai ponsel.
Dalam proyek perangkat modular ala Facebook sendiri, terdapat “nuansa Project Ara” di dalamnya. Hal itu karena banyak anggota penting dari tim Project Ara ikut bekerja dalam sebuah tim di Facebook Building 8, sebuah lab khusus hardware yang memiliki tugas untuk mengerjakan proyek teknologi futuristik.
[Baca juga: Ponsel Ini Beratnya Hanya Setara 12 Permen]
Memang belum pasti perangkat modular seperti apa yang akan dikembangkan oleh Facebook, karena mereka masih enggan bekomentar akan hal ini. Namun menurut sumber terpercaya, raksasa jejaring sosial itu sedang fokus dalam pengembangan kamera berteknologi tinggi, serta pengembangan teknologi machine learning. (FHP/HBS)

 
                                     
                             
                             
                             
                             
                             
                            