Telset.id, Jakarta – Motorola sepertinya sudah mulai mengembangkan smartphone lipat sendiri yang kemungkinan menjadi seri Motorola Razr versi reborn. Hal itu dipastikan setelah munculnya paten Motorola terbaru di situs US Trademark Patent Office (USTPO)
Dilansir dari GSMArena, Jumat (24/08/2018), paten tersebut berkaitan dengan perangkat elektronik dengan engsel dan metode sistem yang dirancang oleh Motorola Mobility LLC dari Chicago, Amerika Serikat. Paten itu, pertama kali diserahkan ke USTPO pada tanggal 31 Mei.
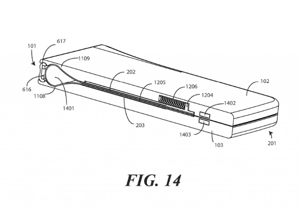
Terlihat pada gambar, smartphone yang disinyalir sebagai Motorola Razr ini mengusung layar touchscreen di bagian depan yang fleksibel atau bisa dilipat. Namun untuk bagian body-nya, digunakan engsel di bagian tengah agar smartphone bisa dilipat dengan sempurna.
Baca Juga: Setelah Nokia Pisang, Motorola Razr Juga akan Reborn

Smartphone lipat tersebut juga punya desain bagian belakang yang mirip seri Moto X, dengan adanya frame kamera berbentuk lingkaran di tengah atas, dan sensor sidik jari di bagian bawahnya. Bedanya, terdapat seperti “sayap” di sisi kiri dan kanannya yang mungkin hanya menjadi “pemanis” dari desain smartphone lipat ini.
Hingga kini, masih belum jelas kapan Motorola akan mulai memproduksi smartphone lipatnya tersebut. CEO Lenovo, brand yang menaungi Motorola saat ini, Yang Yuanqing mengisyaratkan jika seri reborn Razr akan kembali diluncurkan.
Baca Juga: Menanti Hadirnya Reinkarnasi Motorola RAZR
“Dengan teknologi baru, terutama layar yang bisa dilipat, saya pikir Anda akan melihat lebih banyak inovasi pada desain smartphone kami,” katanya.
“Jadi mudah-mudahan apa yang baru Anda uraikan (Motorola Razr) akan dikembangkan atau direalisasikan segera,” janji Yang. (FHP)





Komentar ditutup.