Telset.id, Jakarta – Apple mengajukan paten untuk membuat iPhone terbaru lebih tahan air dibandingkan seri sebelumnya. Paten ini menjadi solusi untuk menutup celah di tombol fisik yang menjadi titik masuk air ke dalam smartphone.
Dilansir Telset.id dari Ubergizmo, Senin (29/07/2019), dalam uraian paten, komponen pengikat tombol dapat diposisikan dan ditarik melebar. Tujuannya, agar menutup celah pada tombol supaya tidak ada air yang masuk ketika iPhone tercebur ke air.
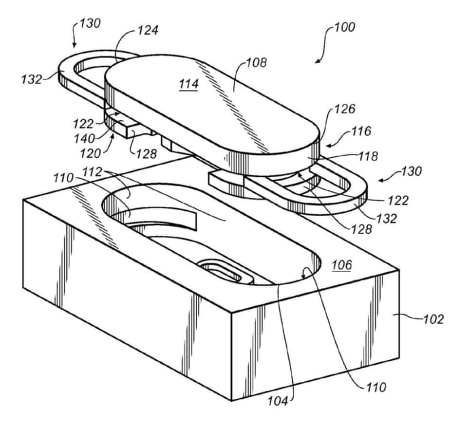
“Komponen pengikatan dapat meluas secara jarak jauh dari tombol, sehingga sebagian komponen pengikatan dapat diposisikan di dalam lubang yang terbentuk di samping,” tulis Apple.
{Baca juga: Apple Patenkan Kabel Data iPhone Tahan Air}
Komponen juga berada sejajar dengan tombol, sehingga pengguna bisa merasakan tekanan ketika menekan tombol iPhone.
“Komponen rakitan dapat diposisikan berdampingan dengan housing dan sejajar dengan tombol untuk merasakan ketika menekan tombol,” tambah iPhone.
{Baca juga: Spesifikasi dan Harga Hp Apple Terbaru}

Meski demikian, belum diketahui apakah Apple berencana mengimplementasikan paten ini pada iPhone terbarunya. Yang pasti, paten ini membuat pengguna iPhone tidak lagi khawatir ketika mereka mengajak smartphone-nya berenang atau ke tempat yang basah.
Paten mengenai tentang daya tahan air bukan pertama kali dilakukan Apple. Sebelumnya, US Patent & Trademark Office mengumumkan hak paten yang didaftarkan oleh Apple pada September 2016 lalu.
Hak paten tersebut diajukan oleh Apple untuk kabel data tahan air yang biasa dipakai oleh pengguna iPhone, iPad, dan iPod Touch. (NM/FHP)
Sumber: Ubergizmo


Komentar ditutup.