Telset.id, Jakarta – BMW mengisyaratkan sedang mengembangkan solusi kendaraan terbaru. Kendaraan tersebut berupa skuter listrik yang bisa dilipat oleh para penggunanya.
Kabar terbaru ini juga menandakan bahwa sebagai raksasa otomotif, BMW terlihat tertarik untuk ikut serta dalam meramaikan pasar skuter listrik yang sedang berkembang pesat. Perusahaan juga akan bersaing dengan McLaren dan Bugatti di pasar ini.
Walau begitu, BMW sudah memiliki rangkaian produk sepeda listrik dan skuter listrik yang terus bertambah. Namun, berdasarkan pengajuan paten yang baru menunjukan bahwa skuter listrik lipat akan segera diluncurkan.
BACA JUGA:
- Collab, Logo iQOO Terpampang di Hyper Car Terbaru BMW
- BWM Garap Mobil dengan Fitur Gaming, Siap Tandingi Tesla
Dilansir Telset dari Gizmochina pada Senin (22/01/2024), detail pengajuan paten ini tidak mencantumkan modele-skuter BMW saat ini. Paten diajukan di bawah kategori Kendaraan Listrik Kecil dan sketsanya juga menunjukkan rangka lipat untuk skuter elektronik.
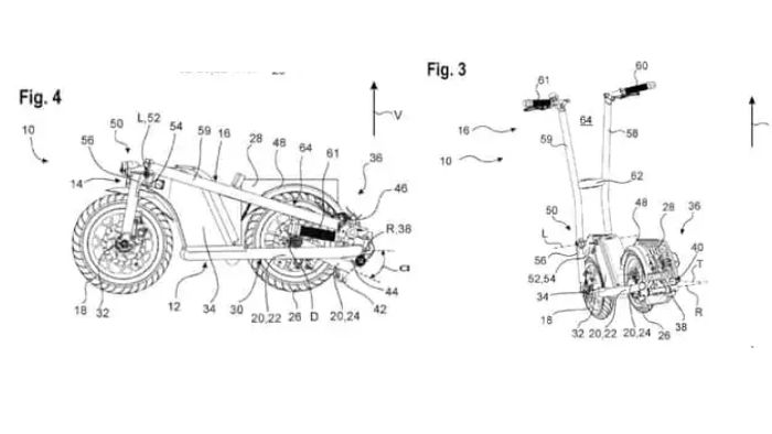
Sketsa Skuter Listrik yang bisa dilipat buatan BMW ini terdiri dari roda belakang, rangka, penyangga pijakan kaki, dan mekanisme pelipatan roda. Mekanisme pelipatan roda belakang memungkinkan skuter menjadi lebih kompak, sesuai dengan faktor bentuknya.
Selain itu, model kendaraan listrik ini juga dilengkapi setang lipat. Ini dirancang agar mudah digunakan dalam sistem transportasi umum perkotaan.

Salah satu poin utama dari pengajuan e-skuter lipat BMW memang mekanisme pelipatannya. Modelnya tidak melipat roda di atas pijakan kaki melainkan memiliki slot untuk meletakkan roda belakang.
Arsitektur mekanisme pelipatan ini akan mencakup sambungan pertama dan sumbu pivot pertama. Sehingga skuter lipat BMW ini dapat diatur dari posisi terbuka ke posisi terlipat melalui sambungannya.
Dari segi performa, e-skuter lipat BMW akan ditenagai oleh motor hub listrik roda depan dengan output antara 500W dan 1,400W. Namun masih belum jelas apakah skuter elektronik ini akan menjadi skuter yang dapat menyeimbangkan diri sendiri, tetapi akan membutuhkan hingga 60% dari peringkat dayanya untuk mencapai keseimbangan diri.
E-skuter BMW ini dapat memiliki kecepatan tertinggi tidak melebihi 20 km/jam untuk melintasi jalan umum di wilayah Eropa. Lalu, ukuran skuter listrik ini juga tidak diketahui, karena detail ini tidak ditentukan dalam paten.
BACA JUGA:
- Gaet Kaum Muda, Harley-Davidson Bakal Produksi Skuter Listrik
- Walah, Skuter Listrik Xiaomi Rentan Diserang Hacker
Namun diharapkan kendaraan tersebut cukup kompak untuk dibawa dengan mobil kecil atau bahkan di bus atau kereta api. Belum ada rincian mengenai tanggal rilis skuter lipat ini. Selain itu, ada kemungkinan juga bahwa model ini difokuskan terutama pada pasar mikromobilitas Eropa yang sangat dinamis. [FY/IF]

