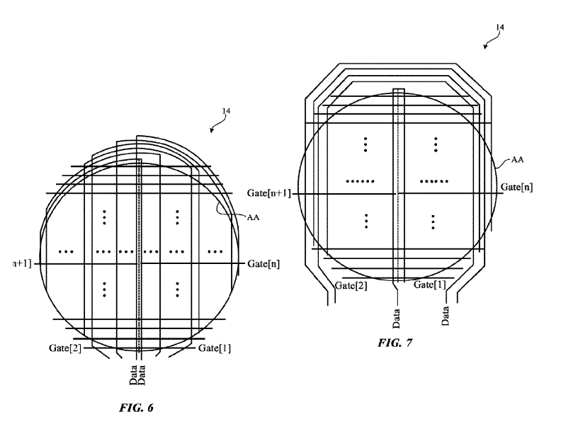
Telset.id, Jakarta – Apple mengantongi izin paten untuk teknologi layar berbentuk lingkaran. Paten tersebut terdaftar di badan regulasi dengan kode US Patent 9965995 dengan keterangan sebagai “paten perangkat elektronik yang memiliki layar tepi melengkung”.
Dilansir phoneArena, paten itu digambarkan sebagai teknologi yang akan digunakan Apple untuk memproduksi layar berbentuk lingkaran di smartwatch mereka. Seperti diketahui, layar Apple Watch saat ini memiliki tampilan persegi, bukan lingkaran.
Apple sendiri mengajukan paten tersebut sebulan setelah mereka meluncurkan seri Apple Watch terbaru. Kuat dugaan, kemungkinan jam tangan pintar Apple berikutnya tak lagi memiliki layar persegi.
Selain soal bentuk, Apple juga dilaporkan telah mendaftarkan proteksi paten untuk jaga-jaga saat memperkenalkan dan menjual Apple Watch dengan desain terbaru yang memiliki layar berbentuk lingkaran.
Proteksi ini dibutuhkan Apple untuk berjaga-jaga jika ada permasalahan yang akan dialami oleh Apple Watch berlayar bentuk lingkaran.
Baca Juga: Keren! Smartwatch Ini Bisa Deteksi Siklus Menstruasi
Asal tahu saja, piksel di smartwatch berlayar persegi tidak akan langsung sesuai dengan smartwatch berbentuk lingkaran. Karenanya, Apple mempersiapkan segala kekurangan tersebut sejak jauh hari.
Tak cuma bentuk layar, Apple dilaporkan juga mengantongi paten teknologi Augmented Reality (AR) untuk Apple Watch terbaru dan beberapa perangkat lainnya. Seperti smart glass yang kemungkinan bakal dijual dalam waktu satu sampai dua tahun lagi.
Menurut prediksi, Apple Watch teranyar yang kemungkinan mengusung desain berbeda dengan layar berbentuk lingkaran bakal rilis tahun 2019 mendatang. (SN/FHP)





Komentar ditutup.