Telset.id, Jakarta – Harus diakui perkembangan smartphone bisa dibilang lebih cepat dibanding tablet PC. Tengok saja misalnya duo Samsung Galaxy S8 yang sudah mengadopsi desain Infinity Display atau jajaran Moto Z yang sudah membawa konsep modular lewat Moto Mods, dan teknologi terkini lainnya.
Namun baru-baru ini, Microsoft sudah mengajukan teknologi baru untuk perangkat tablet masa depannya. Seperti dilansir dari MSPoweruser, hal ini terungkap setelah muncul gambar paten yang memperlihatkan desain tablet dari perusahaan yang dibangun Bill Gates itu.
[Baca juga: Motorola Garap Tablet Android Pertama, Tawarkan “Productivity Mode”]
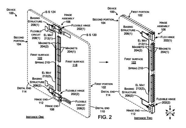
Terlihat pada gambar sketsa di bawah, tablet Microsoft ini memiliki berbagai konfigurasi “engsel” yang rumit sehingga bisa dipastikan tablet Microsoft ke depannya bisa dilipat atau foldable. Tablet itu pun memiliki tiga konfigurasi yakni 0 derajat tertutup, 180 derajat terbuka datar, dan 360 derajat terbuka penuh.
[Baca juga: Asus Garap Tablet dengan Resolusi Layar 2K]
Terungkap pada sketsa tersebut juga jika ketika tablet terbuka dengan konfigurasi 180 derajat, maka layar hanya akan menampilkan satu user interface saja. Sedangkan pada konfigurasi lainnya, tampilan user interface akan muncul secara terpisah tiap layar.
Yang menarik dari sketsa itu adalah ukuran tabletnya. Terlihat jika ukuran tablet tersebut akan hampir seukuran smartphone bukan seukuran tablet besar yang biasa kita temui. Nantinya, tablet yang disinyalir akan berjalan di Windows 10 tersebut akan ditujukan untuk pengguna yang aktif atau mobile. Well, kita tunggu saja ya! (FHP/HBS)

