Telset.id, Jakarta – Samsung bekerja sama dengan perusahaan lain mengembangkan perangkat pendukung untuk ponsel. Menurut rilis World Intellectual Property Organization, Samsung tengah menggandeng Disney untuk menghadirkan alat pengisi daya nirkabel via udara.
Dilaporkan Phone Arena, alat pengisi daya nirkabel via udara keluaran Samsung dan Disney bakal secara otomatis memasok energi baterai kala ponsel sedang menjangkau sinyal. Paten tersebut telah didaftarkan oleh Samsung ke otoritas pada 2016 lalu.
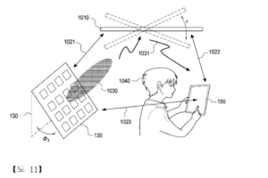
Alat pengisi daya besutan Samsung dan Disney tidak berbentuk perangkat seperti halnya powerbank. Alat itu berukuran kecil tetapi mampu membantu ponsel tetap hidup meski sedang berada di saku. Metode yang diusungnya memfokuskan energi ke perangkat dengan kemampuan nirkabel over-the-air.

Mengaplikasikan sistem itu, pengisi daya nirkabel garapan Samsung dan Disney didukung oleh reflektor yang bertgas mengirim sinyal pengisian daya di sekitar ruangan tertutup tanpa hambatan. Menurut World Intellectual Property Organization, sistem tersebut akan sempurna paling cepat dalam tiga tahun ke depan.
Sebelumnya, perusahaan riset elektronik Tech Insights mengumumkan hasil analisis terkait biaya produksi Samsung Galaxy S9 Plus. Hasil analisis itu menyebut bahwa kamera menjadi komponen termahal ketiga di ponsel kembaran Galaxy S9 tersebut.
Samsung Galaxy S9 dan Galaxy S9 Plus kabarnya akan menerima dukungan teknologi Augmented Reality Google dalam beberapa minggu mendatang via pembaruan perangkat lunak. Dukungan teknologi serupa telah tersedia di perangkat Samsung lain semisal Galaxy S8, Galaxy S8 Plus, dan Note 8. [SN/IF]


Komentar ditutup.