JAKARTA – Apple sempat kelimpungan dihantam pemberitaan negatif terkait kasus ‘bendgate’ atau masalah bengkoknya iPhone 6 Plus. Meski sempat jadi bulan-bulanan cemohan dari para pesaingnya, Apple ternyata tidak kapok membuat “iPhone bengkok”.
Anda tentu masih ingat bagaimana Apple di-bully oleh para vendor smartphone pesaingnya gara-gara kasus bendgate. Menariknya, Apple ternyata tidak kapok dengan masalah bengkoknya iPhone buatan mereka. Apple bahkan akan membuat iPhone dengan desain layar fleksibel alias bengkok.
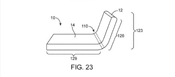
Hal itu diketahui dari paten yang baru mereka dapatkan, yakni paten untuk penggunaan teknologi perangkat elektronik yang fleksibel. Paten ini telah diajukan sejak tahun 2011, namun hingga kini Apple masih belum menggunakan display fleksibel untuk iPhone.
Meski begitu, Apple sepertinya sudah memperhitungkan berbagai macam kelengkapan yang nantinya akan dikembangkan untuk merealisasikan perangkat dengan desain fleksibel atau layar membengkok.
Seperti dikutip telsetNews dari BGR, Jumat (9/1/2015), paten milik Apple itu menjelaskan jenis display yang digunakan, papan sirkuit komponen, sensor, motor, speaker, baterai dan juga material lain yang dibutuhkan.
Jika selama ini material utama iPhone dibuat dari frame besi dan display dari kaca, nantinya iPhone fleksibel akan menggunakan bahan-bahan dari plastik, kaca, fiber dan material lain yang kokoh.
Memang masih belum jelas kapan Apple akan mengembangkan patennya tersebut untuk iPhone, namun kemungkinan ke arah itu sangat terbuka. Apalagi Apple telah melihat kesuksesan LG yang membuat pengunjung CES 2015 terpukau dengan LG G Flex 2.





