JAKARTA – Apple telah mengajukan paten untuk perlindungan perangkat melalui teknologi bantalan pada ujung iPhone yang dapat menggelembung jika terjatuh. Terinspirasi dengan paten tersebut, sebuah konsep menarik sistem perlindungan yang mirip parasut akan disematkan di iPhone 7.
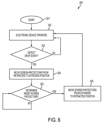
Anda mungkin masih ingat paten yang diajukan Apple beberapa waktu lalu untuk protektor sudut pada layar iPhone yang secara otomatis menggembungkan benda yang mirip bantal kecil pada saat iPhone terjatuh.
Paten ini sepertinya telah menginspirasi seorang fans Apple untuk membuat konsep protector untuk iPhone 7 dengan memanfaatkan daya dorong dari gas karbondioksida, sehingga membuat iPhone 7 dapat mendarat mulus seperti memakai parasut.
Menariknya, sang perancang tak hanya memberikan salinan konsep gambar, tapi juga sebuah video yang memperlihatkan bagaimana nanti jika iPhone 7 menerapkan teknologi yang dirancangnya.
Seperti yang Anda lihat pada video di bawah, pada setiap sudut iPhone 7 memiliki lubang-lubang yang disambungkan dengan sensor pintar yang akan mendeteksi perangkat tersebut saat jatuh.
Sistem pada bagian ujung-ujung perangkat yang dikontrol sensor orientasi dan akselerometer itu akan untuk mengeluarkan gas dari lubang kecil guna memberikan daya dorong untuk membuat iPhone melawan gaya gravitasi sehingga mengurangi dampak iPhone ketika terjatuh.
Alhasil, Anda dapat melihat iPhone 7 yang terjatuh dari atas meja tidak langsung terhempas keras ke lantai, melainkan perangkat justru mendarat dengan sangat smooth tanpa mengalami benturan yang dapat merusak perangkat tersebut.
Kelihatannya memang keren, tapi teknologi ini tentunya akan membuat harga iPhone 7 menjadi semakin mahal jika benar-benar diwujudkan. Akan lebih ekonomis jika Apple meniru teknologi ShatterShield yang diterapkan Motorola pada Droid Turbo 2.
Well, semua kemungkinan bisa saja terjadi, sehingga bukan tak mungkin Apple akan menerapkan teknologi “parasut gas” ini pada iPhone generasi mendatang.[HBS]


