Jakarta – Google mengantongi paten aplikasi terbarunya yang akan digunkan untuk mengembangkan sebuah laptop yang terhubung dengan sebuah smartphone secara built-in.
Aplikasi paten ini telah didaftarkan Google sejak September 2012 silam, dan pada Februari 2014 lalu akhirnya paten tersebut dikabulkan. Konsep utama dari teknologi di paten ini sebenarnya hampir mirip dengan yang dikembangkan Asus di lini Padfone.
Kalau Anda masih ingat, Asus tahun lalu sukses mencuri perhatian lewat peluncuran lini Padfone, yang menawarkan sebuah produk smartphone bisa terhubung dengan sebuah display berukuran lebih besar dan bisa difungsikan sebagai tablet.
Google nampaknya ingin mengikuti langkah Asus dengan mengembangkan konsep serupa, setelah dua tahun bekerjasama dengan perusahaan asal China tersebut lewat tablet Android Nexus 7.
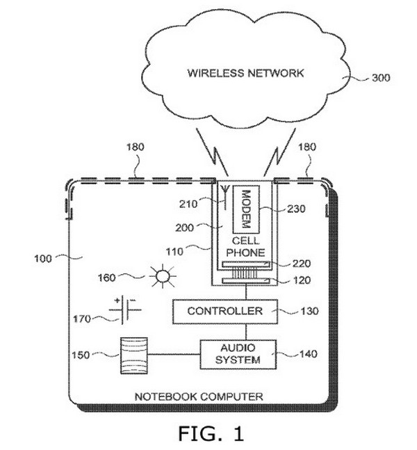
Hal itu dapat dilihat dari konsep paten baru Google ini, dimana perangkat laptop bisa menggunakan koneksi wireless dari ponsel saat membutuhkan akses internet on-the-go, atau menggunakan smartphone sebagai speaker dan microphone ketika pengguna ingin melakukan VoIP via laptop.
Selain itu, seperti yang telsetNews kutip dari androidpolice, Selasa (20/5/2014), laptop di sini juga dapat berfungsi sebagai baterai cadangan dari smartphone seandainya baterainya telah menipis.
Konsep di aplikasi paten ini dengan jelas memperlihatkan bahwa laptop disertai dengan sebuah slot khusus untuk menampung smartphone, mirip dengan yang dikembangkan oleh Asus.
Lantas, apa sebenarnya kelebihan dari konsep ini? Kelebihannya adalah selain masing-masing perangkat bisa berfungsi secara independen, namun kedua perangkat juga bisa digabungkan untuk menunjang salah satu fungsi dari perangkat lainnya.
Intinya, pengguna tetap bisa menggunakan laptop tanpa harus menghubungkan smartphone, dan pengguna juga bisa menggunakan smartphone secara leluasa tanpa harus menghubungkannya ke laptop (seandainya fungsi laptop dianggap kurang praktis).
Dan disinilah kelebihannya, karena fungsi tersebut tidak ada di Padfone. Karena di Padfone, fungsi tablet hanya akan bisa digunakan jika smartphone dihubungkan ke display.
Pada dokumen paten Google tersebut juga tidak ada keterangan apakah masing-masing perangkat (laptop dan smartphone) akan menjadi perwakilan Chromebook dan Android.Tapi hubungan keduanya sudah terlihat, karena Google diketahui telah lama berniat untuk menggabungkan Chrome OS dan Android.
Dugaan ini semakin menguat saat Google menunjuk Sundar Pichai memimpin divisi Chrome dan sekaligus merangkap jabatan memimpin divisi Android sepeninggal Andy Rubin.
Hal menarik lainnya adalah, paten baru Google ini juga memberikan petunjuk mengapa Google selama ini terkesan menghalangi mitra Android mereka dalam perilisan produk dual-boot Windows & Android.[HBS]




